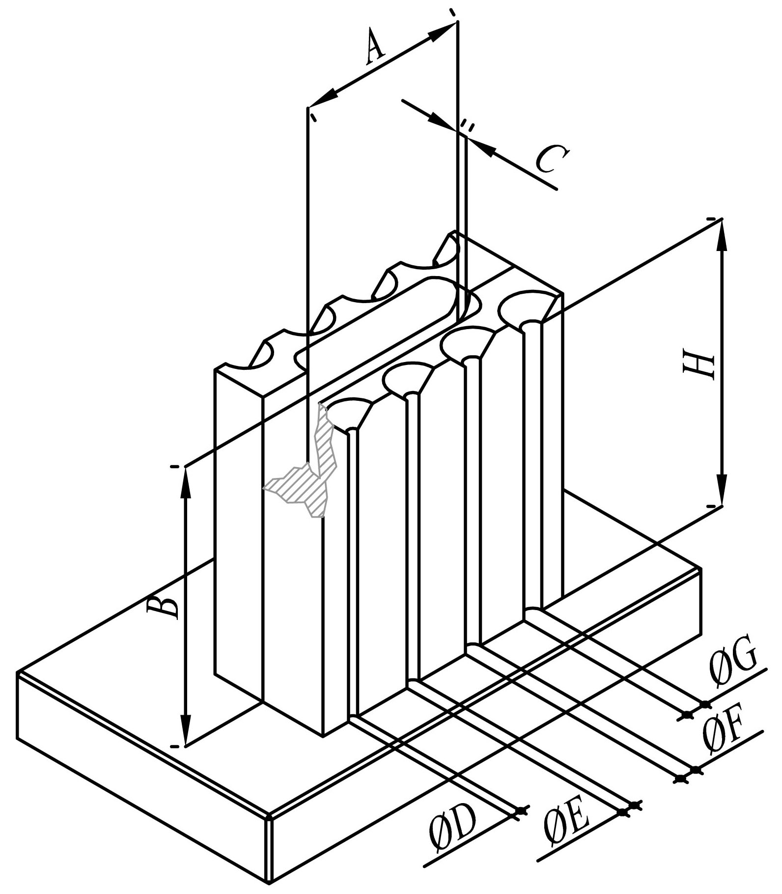
DİK, KAPALI ASTAR+ÇUBUK DERECESİ
|
Art. No |
A |
B |
C |
D |
E |
F |
G |
H |
|
ACK-1 |
50 mm |
80 mm |
4 mm |
Ø 3 mm |
Ø 4 mm |
Ø 5 mm |
Ø 6 mm |
83 mm |
|
ACK-2 |
80 mm |
100 mm |
6 mm |
Ø 8 mm |
Ø 8 mm |
Ø 8 mm |
Ø 8 mm |
103 mm |


