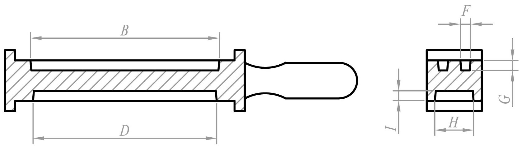
ÇİFT TARAFLI AÇIK ÇUBUK DERECESİ
|
Art. No |
B |
D |
F |
G |
H |
I |
|
CK-1 |
145 mm |
145 mm |
6 mm |
6 mm |
15 mm |
6 mm |
|
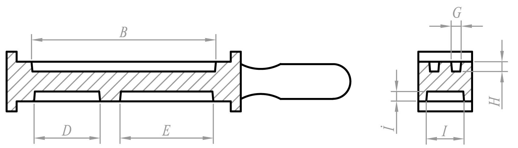
Art. No |
B |
D |
F |
G |
H |
I |
İ |
|
CK-2 |
240 mm |
90 mm |
130 mm |
7 mm |
7 mm |
15 mm |
7 mm |
|
CK-3 |
485 mm |
180 mm |
280 mm |
10 mm |
10 mm |
38 mm |
12 mm |
DİK, KAPALI ÇUBUK DERECESİ
|
Art. No |
Kanal Sayısı |
C |
D |
|
DCK-1 |
3 |
Ø 10 mm |
400 mm |
|
DCK-2 |
3 |
Ø 12 mm |
400 mm |
|
DCK-3 |
3 |
Ø 10 mm |
430 mm |
|
DCK-4 |
3 |
Ø 10 mm |
510 mm |
EĞİK, KAPALI ÇUBUK DERECESİ
|
Art. No |
Kanal Sayısı |
C |
D |
|
ECK-1-3 |
3 |
Ø 10 mm |
350 mm |
|
ECK-2-3 |
3 |
Ø 10 mm |
380 mm |
|
ECK-3-3 |
3 |
Ø 12 mm |
470 mm |
|
ECK-1-5 |
5 |
Ø 14 mm |
350 mm |







